c7网页版



收藏远力|在线留言|网站地图

远力磁选机欢迎您-干式磁选机|湿式磁选机|永磁筒式磁选机!

c7网页版-c7(中国)
磁选机和除铁器行业企业

远力咨询热线:13869611251

远力除铁器,世界先进技术
当前位置:主页 > c7网页版 > >逆流型磁选机的简图

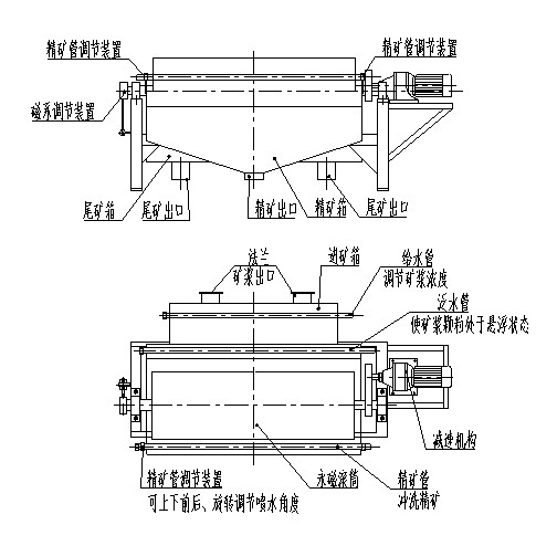
逆流型磁选机的简图

文章出处:远力除铁器人气:发表时间:2017-07-30 08:57:39【
  逆流型磁选机的简图,逆流型磁选机给矿箱带给料管,给料入口段可改善给料的分布,使矿浆沿滚筒全长进料;逆流型磁选机分选区长;无孔塞.全宽围堰,可调节式尾矿溢流排料,可手动控制液位,允许给矿液流波动.
逆流型磁选机简图
逆流型储槽适用于处理中-高密度介质 - 含固量30%-50%.粒度5mm(4目)的介质,逆流型磁选机储槽具有回收率极高的特点,处理量高于DW型.但CR型的脱水区短,精选性能较弱.与DM型相比,CR型所回收的介质比重较低.

1.逆流型磁选机的特点


1.1公司开发了砂选铁磁选机设备,选用Nd-Fe-B复合磁系统精工制造,磁选机在用户实践中反复提高除铁效果,具有大量的加工,高效回收特性.
 
1.2设备节能环保规划,减少资金,快速获利.干砂系列具有振动筛和运输设备,叉车给料方便,湿砂和湿砂分离两系列,系列砂泵抽料,也可安装在采砂船,河流,沙滩,沙,沙等地,不固定任何时间拖曳,90-150立方米的材料或更多.
 
1.3材料筛分后,细砂颗粒以高磁力均匀分布在转鼓外表面,高级铁砂通过高磁力吸附在转筒表面,并通过转盘输送到下部圆筒.输送带到集中区,在此期间非磁性材料,磁效不直接传输到尾矿区,达到海铁铁提取的目的.

2.逆流型磁选机的简图

 
逆流型磁选机简图

关注逆流型磁选机简图的客户还关注阅读了多用磁选机图片

此文关键字:简图   磁选机   逆流   

同类文章排行

最新资讯文章